2021年1月,烈烈寒风也抵不住投资人的热情。
“我们对你们公司也很感兴趣。”宋维杨对某神经介入领域企业负责人李奇说道。
“我们下半年再启动下一轮融资,到时候一定找你。”李奇信心满满地答复。这是他半年来聊的第47个投资人,都想主动投资他的公司。
但是到了2021年7月,炎炎烈日也融化不了投资人的冷淡。
李奇激动地道:“老宋,我这产品马上获批了,只要你投……”
宋维杨打断道,“抱歉抱歉,我们最近在看别的领域。”
李奇很郁闷,这已经不知道是第多少个曾经找上他,如今又拒绝他的投资人。从年初到年中,到底发生了什么?神经介入领域为什么突然从“香饽饽”变成了“窝窝头”?
动脉网访谈了多位神经介入领域投资人及企业负责人,终于找到了答案。事实上,2021年的神经介入领域可谓是风云变幻。
首先是投资机构对于神经介入领域的投资,从下半年起迅速回归理性。
其次是神经介入领域企业的产品陆续获批上市,市场竞争逐渐白热化,且众多神经介入企业陆续布局海外市场。
再次是神经介入领域部分耗材在下半年被纳入集采,影响巨大。
最后是神经介入创新与转化联盟成立,预示着神经介入领域医生与工程师的交流将更加频繁。而在临床专家及企业界的支持下,神经介入领域的创新将更贴近临床,更多解决临床未被满足的需求。
为详细探讨2021年神经介入领域的变化、各种大事件的影响及神经介入领域的未来发展方向,动脉网通过访谈多位投资人、创业者、业内专家,形成本篇文章,以飨读者。
2020年至2021上半年,神经介入概念在资本市场爆红。例如,微创医疗、沛嘉医疗、威高集团等上市企业蜂拥入局;归创通桥、心玮医疗、沃比医疗等明星企业多次获得顶级VC的数轮大额投资。
据动脉网不完全统计,截至2021年6月,国内至少有健适医疗、励楷科技、心凯诺、普微森、泰杰伟业、暖阳医疗、艾柯医疗、久事神康等24家创新企业研发布局神经介入产品;至少有高瓴、辰德资本、国投创新、安龙基金、弘晖资本、红杉资本、华盖资本、济峰资本、前海母基金、同创伟业等超过60家投资机构押注神经介入领域。
其中,2020年至2021年6月,神经介入领域投融资事件数超15起,累计融资金额超15亿元人民币。这一阶段,神经介入领域相关企业被众多投资机构看好,甚至出现了多家投资机构争抢某家神经介入领域企业投资份额的火爆场景。
但是,到了2021年下半年,资本市场迅速回归理性,神经介入领域投融资事件仅4起。

纵观2021年神经介入领域投融资事件,大额融资屡见不鲜。例如,禾木生物C轮5000万美元、归创通桥C+轮7600万美元、健适医疗B轮数亿美元、久事神康与中天医疗B轮均超亿元、励楷科技B轮数亿元、微创脑科学的1.5亿美元融资……
同时,神经介入领域企业以B轮、C轮融资为主,如B轮及C轮融资共8起,占比约61.5%。而归创通桥与心玮医疗于2021年下半年上市,沛嘉医疗此前也于2020年上市。
从资本市场格局看,神经介入领域呈现出“百家争鸣”的竞争格局。
值得一提的是,2021年,神经介入领域从“火爆”转变到“理性”的投融资氛围,用时仅不到半年。有投资机构人士分析指出:之所以如此,是因为二级市场投资者的信心不足,传导至一级市场,使机构投资人更加理性的投资。
另一方面,有人认为是神经介入企业的产品同质化严重,投资者担心神经介入产品即将纳入集采。而集采的预期则使投资人将目光投向其他领域。
对于资本市场的变化,业内专家认为:无论资本是火爆还是理性,神经介入企业最核心的竞争力仍是产品。因此,无论在资本市场表现如何,神经介入领域带着“解决临床未被满足的需求”这一使命,便价值永恒。
而资本市场的变化还说明了一点:无论是IPO,还是天使轮,神经介入领域企业均还有发展机会。因为,神经介入企业的竞争力从不在资本市场,而是在产品价值及产品品质。
2021年,国内神经介入企业经过长期研发,终于迎来收获期。5月,禾木生物研发的首个国产颅内血栓抽吸导管系统获国家药监局批准;7月,赛诺医疗研发的全球首款颅内药物洗脱支架系统获批上市;8月,沃比医疗自主研发的机械可解脱弹簧圈获得NMPA注册证,这是国内首个同时获得美国FDA、欧盟CE和日本PMDA认证的神经介入栓塞产品。
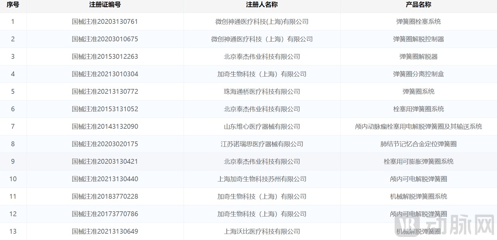
除此之外,归创通桥、励楷科技、心凯诺、泰杰伟业、久事神康、美诺微创等神经介入企业也有多款产品获国家药监局批准。动脉网不完全统计,截至12月2日,2021年我国至少有22款神经介入产品获批。

(动脉网不完全统计,国产神经介入产品2021年获批情况)
梳理国产神经介入产品2021年获批情况,可以看到:目前已有多种类型神经介入产品上市,包含弹簧圈、微导管、微导丝、中间导管、远端通路导管等。多种国产神经介入产品上市,代表着国产神经介入企业已能够满足大部分相关患者的临床需求,且能够满足不同患者的多样化需求。
例如,归创通桥在国内倡导的BADDASS技术,通过取栓支架、颅内支持导管、球囊导引导管等配套神经介入器械为缺血性脑卒中患者提供标准化的手术操作。现有临床研究显示,在目前所有的取栓技术中,BADDASS技术的一次开通率最高,是缺血性脑卒中取栓治疗的最优组合。而归创通桥基于术式需求及其产品线,推出了取栓支架、颅内支持导管、球囊导引导管“BADDASS技术三件套”。
另一方面,众多同类型国产神经介入产品获批,导致神经介入市场竞争白热化。例如,弹簧圈已有9款国产产品上市、神经介入用微导管已有至少10款国产产品上市。

(数据来源:国家药监局官网)
除了部分产品同质化,还有部分产品仍是海外企业垄断格局。例如,颅内血栓抽吸导管,国内企业中仅有禾木生物获批,其他企业产品还处于临床试验或其他阶段。
值得一提的是,2021年,健适医疗与全球顶尖的介入企业Penumbra达成战略合作。Penumbra获得进口医疗器械注册证的颅内血栓抽吸系统已在国内实现大规模应用。2021年4月,除了已有的多种型号抽吸导管,其新一代抽吸导管ACE68也获批上市。
综合来看,我国大部分神经介入产品已掌握核心技术,可实现国产化;而还有少部分品类仍需持续研发,打破海外垄断。同时,国内也已出现全球领先的神经介入产品,如颅内药物洗脱支架系统。
随着2021年众多国产神经介入产品获批上市,国产神经介入企业将与进口产品展开较量。幸运的是,部分国产神经介入器械在性能与品质上已实现不输进口产品。同时,国内还出现了全球首创的神经介入产品。
例如,美诺微创研发的微导丝是一种混合式导丝,采用镍钛与不锈钢混合的材料,共12种规格型号,可以用于颅内和脑外周。其中,加强微导管MCL规格可以自由接入其他产品难以触达的大脑内M3区和M4区。
归创通桥推出的通桥凤弹簧圈系统是一款超柔软的机械解脱弹簧圈,具有超柔软、可机械解脱、规格齐全的优势。上市前临床试验数据显示,通桥凤弹簧圈的柔软程度能媲美国际领先品牌最新一代产品,可以实现不规则动脉瘤、破裂动脉瘤的安全致密填塞。
赛诺医疗研发的全球首款颅内药物洗脱支架系统也备受临床认可。首都医科大学附属北京天坛医院缪中荣教授发布的《载药支架临床研究进展与结果》显示:赛诺神畅NOVA支架能够显著降低支架再狭窄率,同时显著降低责任血管区域中远期再发缺血性卒中事件的发生率,且在安全性方面与普通支架无差异。
基于国产神经介入器械的高品质优势、国内竞争激烈的市场及集采预期,国内神经介入企业已布局海外,计划在全球市场寻找新的增长点。
例如,沃比医疗神经介入产品已远销美国、德国、英国、日本等20多个国家和地区;久事神康与以色列医疗器械制造商Perflow就各自产品注册、研发、市场准入、经销等方面开展合作,协助对方加快国际化进程。
同时,还有一批国内神经介入企业于2021年或更早在海外注册申报产品,计划将产品推向全球市场。2021年以来,归创通桥已有8款产品获得欧盟CE认证;心凯诺的微导管、取栓装置、颅内球囊扩张导管、球囊导引导管、远端通路导管等产品于2021年5月获得CE认证;沃比医疗自主研发的抽吸导管已于2021年12月正式获批美国 FDA 510(k) 上市许可。微创脑科学旗下微创神通自主研发的弹簧圈栓塞系统于2021年获得美国FDA、韩国MFDS、欧盟CE认证……
另外,微创脑科学还通过战略投资以色列公司Rapid Medical形成更完整、多样化的神经介入产品组合,并推动产品在全球市场应用。截止目前,微创脑科学已陆续获得ISO13485:2016、巴西国家卫生监督机构ANVISA认证等多项体系认证,形成了具有国际化水平的质量管理体系。
总的来看,越来越多的国产神经介入器械正在走出国门,走向国际。
2021年,神经介入结合AI技术逐渐走向临床。
例如,2021年5月,强联智创联合GE医疗发布脑卒中CT一站式AI解决方案,该解决方案通过GE医疗CT设备的影像采集技术结合强联智创的人工智能算法,为医生提供缺血性脑卒中CT一站式AI精准评估。此前,强联智创已与GE医疗在DSA设备方面达成合作。基于上述合作,强联智创实现了覆盖脑卒中诊疗全流程的智能解决方案。
在应用上,2021年11月,烟台临床医生应用强联智创的智能微导管塑形技术进行眼动脉瘤治疗。医生表示:“微导管塑形是动脉瘤介入手术成功的关键步骤,使用人工智能技术辅助微导管塑形,不仅缩短微导管到位的时间,便捷了手术操作,还提高了手术的成功率。”基于人工智能技术的优势,其在卒中治疗等临床场景中应用越来越广泛。
再如,强联智创已推出针对出血性脑卒中的UKnow®系统和针对缺血性卒中的UGuard®系统。UKnow®系统与UGuard®系统已覆盖临床中智能筛查、精准诊断、治疗决策评估、手术规划、术中辅助、三维随访等全部环节。
其中,UKnow®系统具备智能血流导向装置模拟、智能微导管塑形规划、智能三维形态学测量及智能破裂风险评估等功能;UGuard®系统则具备智能CT-ASPECTS评分、智能CTP脑灌注评估、智能血栓形状分析等功能。
除了强联智创,沃比医疗也在尝试将神经介入结合AI技术。2021年8月,沃比医疗与人工智能医学影像公司Brainomix签署大中华区的战略合作协议:沃比医疗将加速Brainomix旗下e-Stroke人工智能影像软件在中国卒中中心的临床应用,并与Brainomix携手为中国卒中临床提供脑血管病诊疗一体化的全流程解决方案。
据介绍,Brainomix的e-Stroke软件是一个结合AI智能算法,支持扫描和影像结果评估的软件平台。其通过实时分析和解读脑部的扫描结果,为整个卒中诊疗网络中的临床医生提供支持和指导,为脑卒中患者的治疗和转移决策提供建议,确保更多卒中患者能够在正确时间、正确地点获得正确治疗。
可以看到,在神经介入领域,AI技术的应用正逐渐增多,且AI技术已覆盖从筛查、诊断到治疗、随访的全部环节。
12月初,在朋友圈看到神经介入业内人士关于河北省带来采购弹簧圈的评价:“河北弹簧圈(集采)出结果了,比想象中的好!”
公开资料显示,2021年11月,河北省发布集中带量采购疝补片、硬脑膜补片、弹簧圈的通知。目前,其已公布集中带量采购拟中选结果。根据业内人士反馈看,本次弹簧圈集采较为温和,降幅可控。不过,本次河北省集采拟中选结果暂未对公众公开,尚不知具体降幅。
除了河北省,浙江也对神经介入耗材进行了集采。2021年9月,浙江省药品医用耗材集中带量采购办公室发布《浙江省公立医疗机构第二批医用耗材集中带量采购目录(征求意见稿)》,计划带量采购神经介入专用微导管。
2021年10月底,浙江省药械采购平台公示了医用耗材带量采购的中选结果。结果显示:海外企业MicroVention、柯惠医疗及国产企业心玮医疗、健适医疗旗下尼科医疗、归创通桥旗下通桥医疗、美诺微创共同中标。
截至目前,浙江省关于神经专用微导管的集采价格仍为公开披露,具体降幅仍不知晓。不过,浙江省药械采购中心于12月2日发布了《第二批医用耗材集中带量采购参与剩余用量产品申报挂网的通知》,其中对神经介入微导管提出了限价要求:进口产品限价2980元、国产产品限价1900元。猜测2980元、1900元分别是进口及国产神经介入微导管在浙江省本次集采的最高中标价。
业内人士认为:河北省及浙江省对于神经介入耗材的带量集采均较为温和,降幅大致在45%-65%之间。同时,两次集采将推动神经介入耗材国产化,提升神经介入手术渗透率。
一方面,神经介入微导管此前主要被进口产品垄断市场,如今国产器械中标,将推动国产神经介入微导管的应用,提升其国产化率。
另一方面,神经介入微导管作为神经介入手术的重要配套产品,其价格降低将推动神经介入手术价格降低,最终推动更多患者选择神经介入手术。同时,成本下降、患者需求增加,将使更多医生学习、应用神经介入手术,从而提高神经介入手术渗透率。而神经介入手术数量增长则意味着其市场规模将持续扩容。
总的来看,神经介入产品被纳入集采,目前降幅可控,且“以价换量”的策略有助于国产企业的发展。
2021年,神经介入领域医生群体也有较大变化。
9月,首都医科大学宣武医院神经外科主任张鸿祺教授联合各类医学创新主体共同成立了神经介入创新与转化联盟(CNIT)。该联盟是国内首个神经介入领域创新转化融合平台,集齐了医、研、企、政、资等创新主体。
截至目前,联盟中已拥有复旦大学附属华山医院、郑州大学第一附属医院、宣武医院、天坛医院等知名医疗机构以及艾柯医疗、强联智创、沃比医疗、微密医疗、禾木生物、加奇生物、赛诺神畅、心玮医疗、维心医疗、微创神通等众多神经介入创新企业。
神经介入创新与转化联盟介绍,其将通过创新培训、创新大赛、创新峰会、创新传播、创新孵化、创新验证、机制探索七个板块,完善项目挖掘、项目孵化、产业落地的生态系统,驱动神经介入学科创新发展。
可以预见,在CNIT的支持下,神经介入领域创新将越来越贴近临床。同时,“医、研、企、政、资”的联合支持,也将推动神经介入领域更快创新及更好地解决临床问题。
除此之外,神经介入医生数量也将迎来快速增长。
2021年10月28日,国家卫生健康委能力建设和继续教育中心发布的《关于开展首批神经介入建设中心遴选工作的通知》显示,其将于12月4日-5日召开神经介入建设中心评审会议。报名单位通过遴选成为“神经介入建设中心”后,将按照统一要求进行有关神经介入规范化诊治的示教和指导质控等学习内容。
公开资料显示,国家卫生健康委能力建设和继续教育中心的目标是:3年内在全国范围内遴选100家基地,带教1000家神经介入建设中心,经过培训带教与考核,建设成为规范化诊疗中心;5年内培养3000名能够独立开展神经介入治疗的医生,最终实现急危重症脑血管病患者能够在区域内得到有效救治。
由此可见,神经介入医生将在未来5年内迅速增长,神经介入手术的渗透率也将迅速提升。
纵观神经介入领域2021年的变化,我们认为神经介入领域未来将有以下趋势:
1、医疗行业以产品为核心竞争力,缺乏资本优势的创新企业仍有发展机会;
2、市场竞争将愈加白热化,一批产品同质化严重的企业将被淘汰,而产品具备差异化优势的企业将迎来发展机遇;
3、神经介入渗透率将迅速提升,市场空间将继续增长,产品推进速度快、商业化能力强的企业将享受第一波红利;
4、集采范围将进一步扩展,国产神经介入产品出海成必行之路;
5、在“医、研、企、政、资”的支持下,神经介入领域的产品创新将加速;
6、神经介入领域,AI技术应用将继续增加,学习难度、手术难度都将持续下降。
注:文中宋维杨、李奇均为化名。

















