商务合作
动脉网APP


一、需求描述
寻求专利许可、专利转让、作价入股、技术开发方面合作伙伴,有意者欢迎沟通。
二、项目亮点
1、颈椎牵引器是市面上效果最好的,可以面向医院、门诊和家庭使用,腰椎牵引器是家庭中最好用的;
2、颈椎牵引器在现有公认的圆形枕基础上,加上了牵引件和佩戴件,然后利用用户头部和牵引件的重力,加大了牵引力度,从而加快解决用户颈椎曲度变直或反弓的问题,缩短治疗时间,加快改善用户颈椎疾病相关症状;
市场上公认的圆形枕

本颈椎牵引器的使用结构图
3.颈椎牵引器的优势:
(1)不仅可以加快改善颈椎曲度变直或反弓导致的相关症状,还可以减缓颈椎的退化程度(比如减缓椎间隙变窄程度,减缓椎间盘突出程度,减缓骨质增生程度),还可以减轻颈椎相关肌肉的拉力,从而为颈椎的健康起到预防和治疗的作用。
(2)颈椎牵引器为实用新型专利,可以面向家庭、医院和门诊使用,占地面积小。
4、腰椎牵引器在现在市场上的按摩枕基础上增加了牵引高度 ,加快恢复患者腰椎曲度,从而加快解决患者腰椎曲度变直或反弓的问题,从而加快改善腰椎曲度变直或反弓导致的相关症状。

按摩枕
5、腰椎牵引器的原理:弧形枕向前作用力于腰椎,利用支撑组件和弧形枕的高度和弧形枕(两者结合起来最高24cm)的弧形结构,加大牵引器的高度,加快恢复患者腰椎曲度,从而加快解决患者腰椎曲度变直或反弓的问题,从而加快改善腰椎曲度变直或反弓导致的相关症状。(备注:弧形枕为图1中10,支撑组件为图1中20)

图1 腰椎牵引器的结构

图2 腰椎牵引器使用结构图
6.腰椎牵引器的优势:
(1)不仅可以加快改善腰椎曲度变直或反弓导致的相关症状,还可以减缓腰椎的退化程度(比如减缓椎间隙变窄程度,减缓椎间盘突出程度,减缓骨质增生程度),还可以减轻腰椎周围肌肉的拉力,从而为腰椎的健康起到预防和治疗的作用。
(2)腰椎牵引器为实用新型专利,面向家庭使用,占地面积小。
三、颈椎牵引器项目介绍
1. 技术背景:
(1)现在人们长期低头办公或者玩电子产品,导致颈椎曲度变直甚至反弓,会使颈椎周围肌肉的拉力变大,颈椎椎间盘受力加大,将加快颈椎椎间盘突出症和颈椎相关疾病,如颈部肌肉僵硬、颈肩部疼痛、头晕、恶心、颈性高血压、上肢疼痛麻木、甚至手脚无力,脚踩棉花感等。
(2)目前医院的颈椎牵引只能牵拉颈椎相关肌肉,得到放松的效果,还有应用圆形枕来改变颈椎曲度,这些技术不能快速有效的解决颈椎曲度变直或反弓的问题。
2. 颈椎曲度对比图

图1 颈椎生理曲度对比图

图2 脊柱正常生理曲度
3. 颈部承受压力的变化


图 3
通过对比可以判断,越低头,颈部承受的压力越大,从而证明颈椎曲度正常,颈部承受的压力最小。
4. 现有技术的缺点:现有技术圆形枕(如图4)牵引力度不够,需要的牵引时间长,短期效果差,故而不能快速有效的解决颈椎曲度变直或反弓的问题
5. 目前市场上的牵引器

图4
6.颈椎牵引器的结构示意图

图5 颈椎牵引器结构图

图6 颈椎牵引器使用结构图

图7 颈椎枕内部结构图
附图标记说明:
1-牵引器,10-颈椎枕,20-佩戴件,30-牵引件,40-控制器,50-红外灯源,60-开关。
7.本技术可以解决现有技术的缺点:本技术可以解决现有技术牵引力度不够和牵引时间长的缺点,加快解决颈椎曲度变直或反弓的问题。
8.本实用新型技术原理:颈椎枕支撑用户颈部,然后利用用户头部和牵引件的重力,加大了牵引力度,从而加快解决用户颈椎曲度变直或反弓的问题,缩短治疗时间,加快改善用户颈椎疾病相关症状。
(备注:颈椎枕为图5中10,牵引件为图5中30)
9.操作方法:用户平躺,头超过床边,将颈椎枕放在用户颈部,将佩戴件戴在用户头上,在佩戴件挂钩处挂上牵引件,牵引时间一般10分钟到30分钟,具体时间以患者承受情况为准。
10.颈椎枕可以附带红外线功能。
11.优势:(1)不仅可以加快改善颈椎曲度变直或反弓导致的相关症状,还可以减缓颈椎的退化程度(比如减缓椎间隙变窄程度,减缓椎间盘突出程度,减缓骨质增生程度),还可以减轻颈椎相关肌肉的拉力,从而为颈椎的健康起到预防和治疗的作用。
(2)颈椎牵引器为实用新型专利,可以面向家庭、医院和门诊使用,占地面积小。
12.前景:现在成年人大多数颈椎曲度变直或反弓,甚至一部分学生也有颈椎曲度变直甚至反弓的情况,本技术能很快解决颈椎曲度变直或反弓的问题。目前这是最好的产品,又基于需求量很大,我相信市场一定非常广阔。
13.愿景:解决颈椎曲度问题迫不及待,我愿为改善颈椎曲度问题付出一份力量,很希望和贵公司达成共识,一起合作,还大家一个更好的颈椎。
四、腰椎牵引器项目介绍
1. 技术背景:
(1)现在人们长期哈腰驼背等不良姿势,导致的腰椎曲度变直甚至反弓,会使腰椎相关肌肉的拉力变大,腰椎椎间盘受力加大,将加快腰椎椎间盘突出症和腰椎相关疾病,如下肢疼痛、下肢麻木、下肢无力、腰部下肢怕冷、跛行等。
(2)目前医院的腰椎牵引只能牵拉腰椎相关肌肉和组织,得到放松的效果,还有应用按摩枕来改变腰椎曲度,这些技术不能快速有效的解决腰椎曲度变直或反弓的问题。
2、腰椎曲度对比

图1 腰椎生理曲度对比图

图2 脊柱正常生理曲度
3、腰部承受压力的变化

图3 不同姿势腰部受力表(单位:公斤)
平躺时腰部受力最小,大约25公斤,
站着时,腰部受力大约100公斤。
坐着时,上半身直立状态下,腰部受力约140公斤。
坐着时,上半身哈腰状态下,腰部受力约185公斤。
通过对比可以判断,越弯腰,腰部承受的压力越大,从而证明在站立位和坐位,腰椎曲度正常,腰部承受的压力最小。
4. 现有技术的缺点:现有腰椎按摩枕或者理疗器的高度不足,最高13cm左右(如图4),不能快速有效的解决腰椎曲度变直或反弓的问题。
5. 目前市场上的牵引器


图4
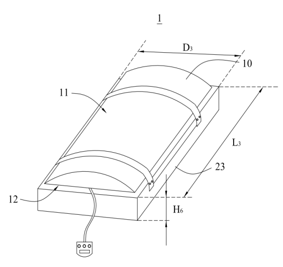
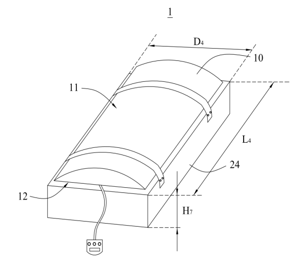
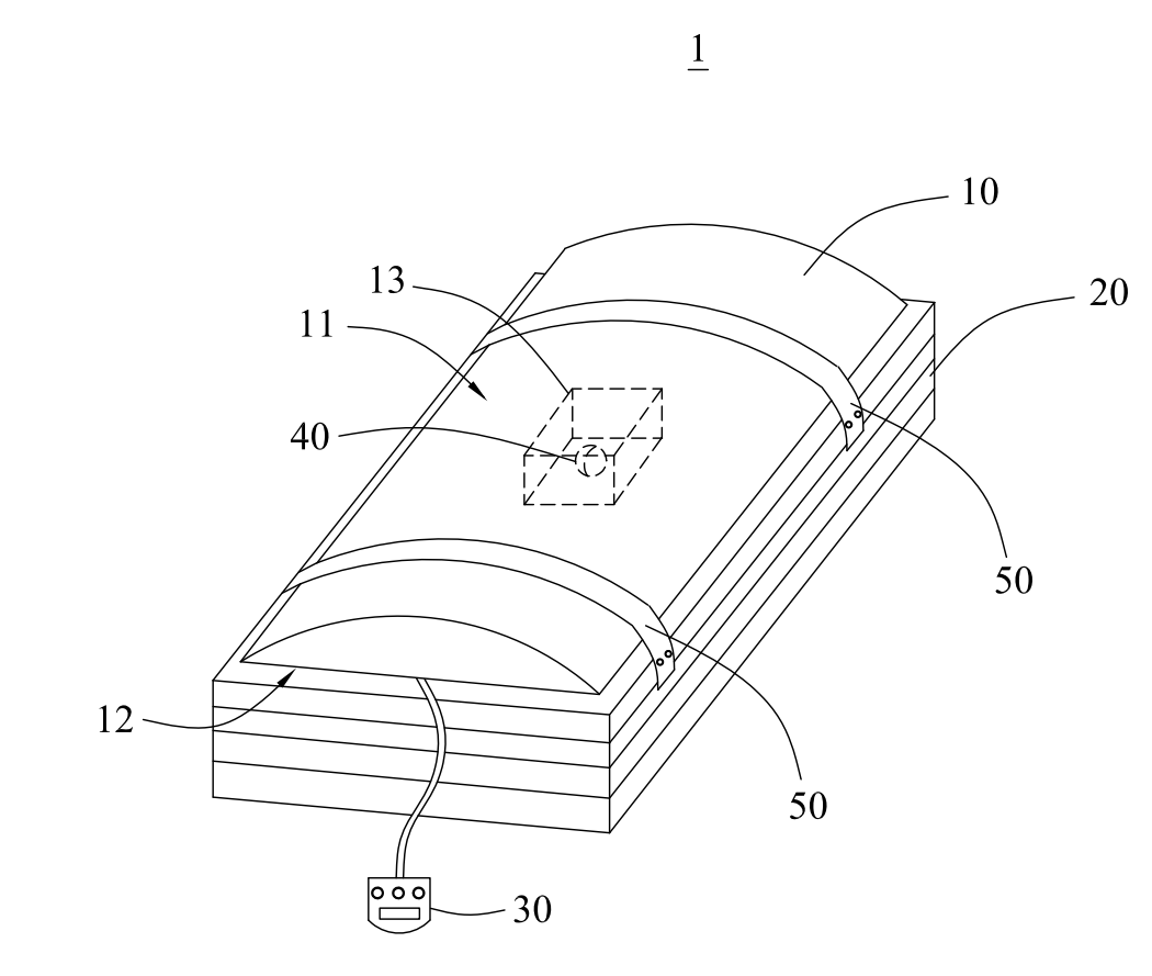
6.腰椎牵引器的结构示意图

图5 腰椎牵引器结构图

图6 腰椎牵引器使用结构图

图7 21-第一支撑件

图8 22-第二支撑件

图9 23-第三支撑件
图10 24-第四支撑件

图11 弧形枕(10)内部结构图
附图标记说明:
1-牵引器,10-弧形枕,20-支撑组件,30-控制器,40-红外发光单元,50-固定带,11-承载面,12-底面,13-收容腔,21-第一支撑件,22-第二支撑件,23-第三支撑件,24-第四支撑件,25-支撑子件,26-承载件,27-折叠件,28-第一端侧,29-第二端侧。
7.本技术可以解决现有技术的缺点:本技术腰椎牵引器的高度可以达到24cm,可以加快解决腰椎椎曲度变直和反弓的问题,从而加快改善腰椎曲度变直或反弓导致的相关症状。(备注:本人体验过18cm左右的高度,一周左右治疗可以快速改善腰椎间盘突出症状)
8.本实用新型技术原理:弧形枕向前作用力于腰椎,利用支撑组件和弧形枕的高度和弧形枕(两者结合起来最高24cm)的弧形结构,加大牵引器的高度,加快恢复患者腰椎曲度,从而加快解决患者腰椎曲度变直或反弓的问题,从而加快改善腰椎曲度变直或反弓导致的相关症状。(备注:弧形枕为图5中10,支撑组件为图5中20)
9.操作方法:
(1)将弧形枕10放置于床上,患者腰部躺在上面。首先单独利用弧形枕10对患者腰部进行牵引,牵引时间可以为10分钟到30分钟,具体时间以患者承受情况为准,且牵引周期可以为7天。
(2)当患者适应后,可以将弧形枕10与第一支撑件21进行组合使用,即增加牵引器对患者腰部的支撑高度,牵引时间和周期同第1步。
(3)当患者适应后,可以将第一支撑件21更换为第二支撑件22,将弧形枕10与第二支撑件22进行组合使用,即再度增加牵引器对患者腰部的支撑高度,牵引时间和周期同第1步。
(4)依次可以更换第三支撑件23和第四支撑件24,也就是患者可以选择6-24cm之间合适的高度适用于不同阶段的治疗,从而加快解决腰椎曲度变直或反弓的问题。
10.弧形枕可以附带红外线功能。
11.优势:(1)不仅可以加快改善腰椎曲度变直或反弓导致的相关症状,还可以减缓腰椎的退化程度(比如减缓椎间隙变窄程度,减缓椎间盘突出程度,减缓骨质增生程度),还可以减轻腰椎周围肌肉的拉力,从而为腰椎的健康起到预防和治疗的作用。
(2)腰椎牵引器为实用新型专利,面向家庭使用,占地面积小。
12.前景:现在成年人大多数腰椎曲度变直甚至反弓,甚至一部分学生也有腰椎曲度变直的情况,本技术能很快改善腰椎曲度问题。基于需求量很大,目前还没有很好的产品,我相信市场一定非常大。
13.愿景:解决腰椎曲度问题迫不及待,我愿为改善腰椎曲度问题付出一份力量,很希望和贵公司达成共识,一起合作,还大家一个更好的腰椎。

罗湖医院
深圳市罗湖区人民医院始建于1957年4月,毗邻香港,地处罗湖商业闹市区。是一所三级综合性医院。2020年2月至4月,互联网医院问诊人次10多万,发药人次3万多。 拥有700多位职业医生。
申请日期 | 专利名称 | 专利类型 | 状态 |
|---|
2023-04-17 | 一种口腔护理用冲牙器 | 实用新型 | 授权 |
2023-03-21 | 一种牛蒡子苷元衍生物及其制备方法与应用 | 发明专利 | 公开 |
2023-03-13 | 一种智能防撞试管导架 | 发明专利 | 实质审查 |

罗湖医院
深圳市罗湖区人民医院始建于1957年4月,毗邻香港,地处罗湖商业闹市区。是一所三级综合性医院。2020年2月至4月,互联网医院问诊人次10多万,发药人次3万多。 拥有700多位职业医生。




