2月27日,北医三院公开了一种经腹腔镜卵巢微针激活装置的实用新型专利。

图片来源:国家知识产权局
该成果来自北医三院的张佳佳、严杰、宋雪凌团队,其中严杰教授为生殖医学中心副主任、女性生育力促进全国重点实验室办公室主任。

图片来源:国家知识产权局
该微针激活装置为治疗早发性卵巢功能不全(premature ovarian insufficiency, POI)提供了更加安全、便捷、低损伤的卵巢激活方式,可惠及中国近400万受POI困扰的适育年龄女性。
卵巢激活技术通过激活POI患者处于休眠状态中的残余原始卵泡,为POI患者的生殖治疗恢复提供了全新选择。
目前激活方式中,多采取腹腔镜切取卵巢组织后再进行体外激活。

图片来源:《Reprod Biomed Online》
但这种治疗,由于需要多次手术、冷冻卵巢组织、损耗卵泡数量等问题,很大程度上会进一步加剧POI女性的卵巢功能不全的状态。
北医三院的团队在实践中发现,保持卵巢原位基础上进行卵巢激活,可以有效改善组织切取和体外激活造成的问题。
在此背景下,一种操作便捷、可避免培养阶段潜在损伤、无需两次手术、可高效激活等优势的适用于卵巢皮质原位机械性刺激的微针手术器械将有效的解决该临床问题。
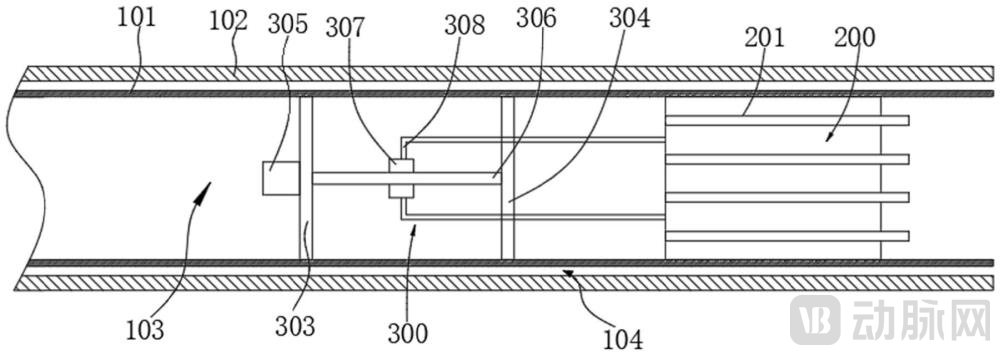
根据北医三院团队此次实用新型专利中的效果增益描述:“。。。通过设置主体由内管件和移动件构成的激活装置,通过内管件的支撑和载体作用实现移动件的输送,并通过移动件在内管件内第一区间的线性移动实现微针的释放,进而完成卵巢的刺激治疗。”
该装置对于目前研究中发现的通过卵巢皮质碎片化、卵巢活检/划痕等来抑制Hippo通路,从而促进卵泡激活和生长的前沿治疗手段有改善作用。
POI是目前生殖内分泌领域重点关注的疾病。其病因复杂、治疗难度大,给女性患者尤其是有生育需求的群体带来了巨大痛苦,并严重影响生活质量。
根据中华医学会妇产科学分会撰写的2023版早发性卵巢功能不全的临床诊疗专家共识,早发性卵巢功能不全是指女性在40岁之前出现的卵巢功能减退,伴有月经改变、生育力降低或不孕、雌激素水平降低等临床表现。发病率在1%-3.7%,是危害年轻女性生殖能力的严重疾病。
第七次全国人口普查显示,中国25-35岁适育年龄女性约有1.04亿人。按发病率计算,POI群体可达400万人。
导致POI的病因较多,常见有遗传因素、免疫因素、感染因素、医源性因素及环境因素等。半数以上的POI患者病因尚不明确,被归纳为特发性POI。
根据是否曾有自发月经,又可分为原发性POI和继发性POI。其中,原发性闭经的POI患者平均生育年限只有约10年,从出现月经紊乱到发展至闭经平均仅1~2年。与正常同龄女性相比,POI女性在辅助生殖技术中的获卵数明显减少。
卵巢相比较于其他身体器官功能寿命较短,保护卵巢生育能力和预防卵巢衰老是目前中国临床上的迫切需求。由于部分POI女性卵巢内仍含有残余原始卵泡,且处于休眠状态,卵泡再激活技术成为了目前的热门方向。
在治疗方式上,除了激素补充治疗、长期健康管理、生育指导与ART治疗、生育力保存等以外,卵泡再激活技术为前沿的、主要的手术干预方式,相关手术器械为存量巨大的蓝海市场。

















